PATENTE PARA NEGOCIAR

PATENTE PARA NEGOCIAR

location_on 安达卢西亚 西班牙

请注意:
投资于早期阶段的企业存在风险,包括流动性不足、无分红、投资损失及股权稀释等。因此,此类投资应仅作为多元化投资组合的一部分进行。本平台仅面向具备足够专业知识、能够理解相关风险并自行作出投资决策的投资者。我们鼓励投资者自行审阅与评估各项投资,并根据自身判断决定是否参与。本网站所提供的信息仅供参考,我们无法保证其准确性或完整性。我们强烈建议投资者在进行任何投资前,与持牌专业人士完成尽职调查。本平台不提供任何法律或税务方面的建议。

简要概述

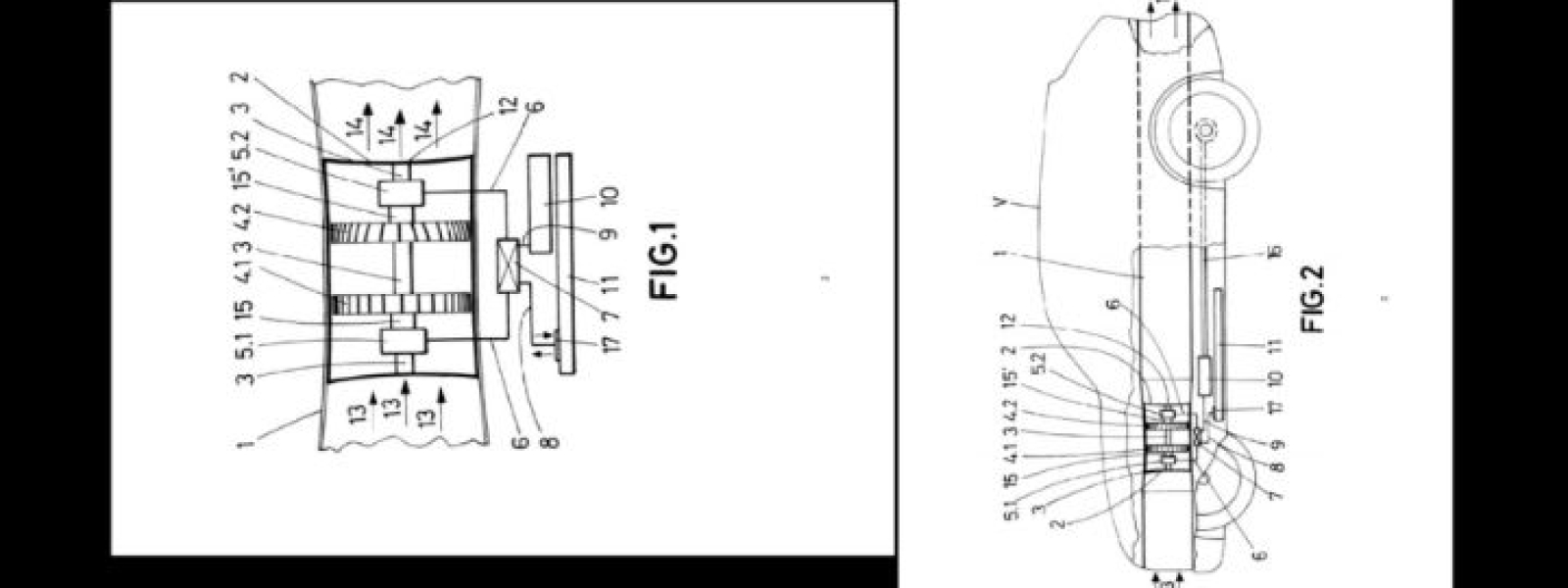
Vendo solicitud de patente la que durante 20 años se puede vender o contratar.
Otra opción: pagar el ICP 4.700€ para su publicación y protección en 156 países durante 31meses, +800€ último pago a OEPM para última revisión. Ganancia acuerdo contrato.

亮点

  • No requiere una gran inversión
  • Se puede optar por aportar una cantidad y repartir beneficios
  • El negocio se basa en la contratación o venta
  • Se pueden generar muchas más patentes relacionadas
  • Posibilidad de crear la propia empresa esta generaría miles de millones

概览

目标 HK$ 45,000
最低标准。 HK$ 45,000
融资已到位。 HK$ 0
过往融资轮次 HK$ 0
阶段 初创前期/研发阶段
投资人角色 任何。

提出一个问题。
对这个项目有问题吗?

相似项目

Loading…
Loading the web debug toolbar…
Attempt #